Para aquellos que alguna vez soñaron con conducir su motocicleta junto a sus hijos, el nuevo proyecto de Honda podría ponerles los pelos de punta. Unos recientes planos de homologación fueron publicados por la firma japonesa y sugieren la realización de una gran tarea.
Honda continúa innovando en el ámbito de la movilidad con su reciente vehículo: el MotoCompacto. Se trata del sucesor del legendario MotoCompo de 1981. Este modelo, aunque mantiene la filosofía del original, evolucionó para adaptarse a las necesidades actuales, especialmente pensando en su uso familiar.
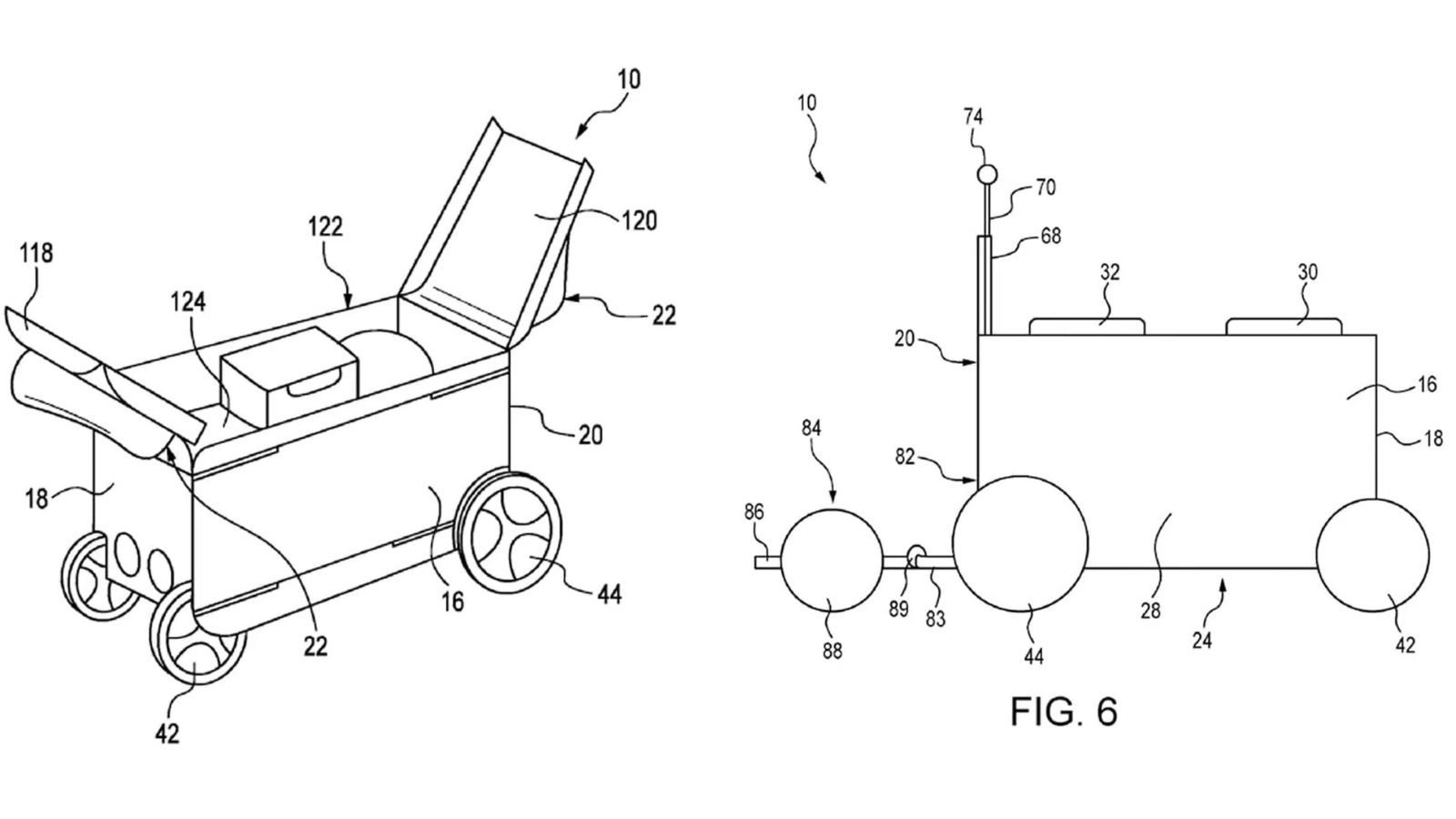
Detalles del nuevo MotoCompacto

Según los últimos registros de patentes, Honda está trabajando en una versión de cuatro ruedas y tres plazas del MotoCompacto, conocida internamente como «Mobility Apparatus». Este modelo busca revivir el espíritu del MotoCompo de 1981, pero con un diseño actualizado y características pensadas para las familias moteras. La moto tiene tres plazas: dos asientos en la carrocería y uno en la parte trasera para el adulto responsable.
Este MotoCompacto es una propuesta «eco-friendly» y muy particular. Cada asiento tiene su propio manillar, mientras que el adulto va parado sobre una plataforma, similar a la conducción de un monopatín. Además, cuenta con un espacio bajo el asiento para transportar objetos, ideal para llevar juguetes y disfrutar con los niños en un parque.
La visión de la marca

En los planos de homologación, Honda destacó la utilidad de este nuevo vehículo para muchas familias: “Conducir y estacionar en las ciudades puede ser costoso, y el transporte público a menudo es una alternativa de punto a punto. La solución es minimizar el tiempo de espera y evitar que los niños tengan que caminar largas distancias. Se identificó la necesidad de un aparato de movilidad familiar compacto, que se pueda guardar en el transporte público y que incluya motores de asistencia eléctrica para que sea divertido viajar juntos en una ciudad o entorno urbano”.
Además, Honda afirmó: “El objetivo principal es ofrecer oportunidades para que las familias interactúen entre sí y exploren destinos adicionales, no planificados previamente, dentro del centro de la ciudad para enriquecer las experiencias culturales urbanas”.
Las expectativas de Honda

Aunque Honda aún no reveló detalles sobre el precio estimado o la fecha de lanzamiento del MotoCompacto, ni especificó los mercados a los que llegará, la expectativa es alta entre los entusiastas de las motos y las familias que desean una experiencia de esta movilidad.




