InicioNoticiasBenelli desarrolla un nuevo motor V4 para futuros modelos

Benelli desarrolla un nuevo motor V4 para futuros modelos

Grupo de WhatsApp CuyomotorGrupo de WhatsApp Cuyomotor

La empresa madre de Benelli, Qianjiang, quien es propietaria de la firma italiana desde el año 2005, se encuentra desarrollando un nuevo motor V4 para futuros modelos. Este podría abrirle las puertas a Benelli por primera vez en el alto rendimiento, desde que discontinuó la venta de su deportiva Tornado 1130.

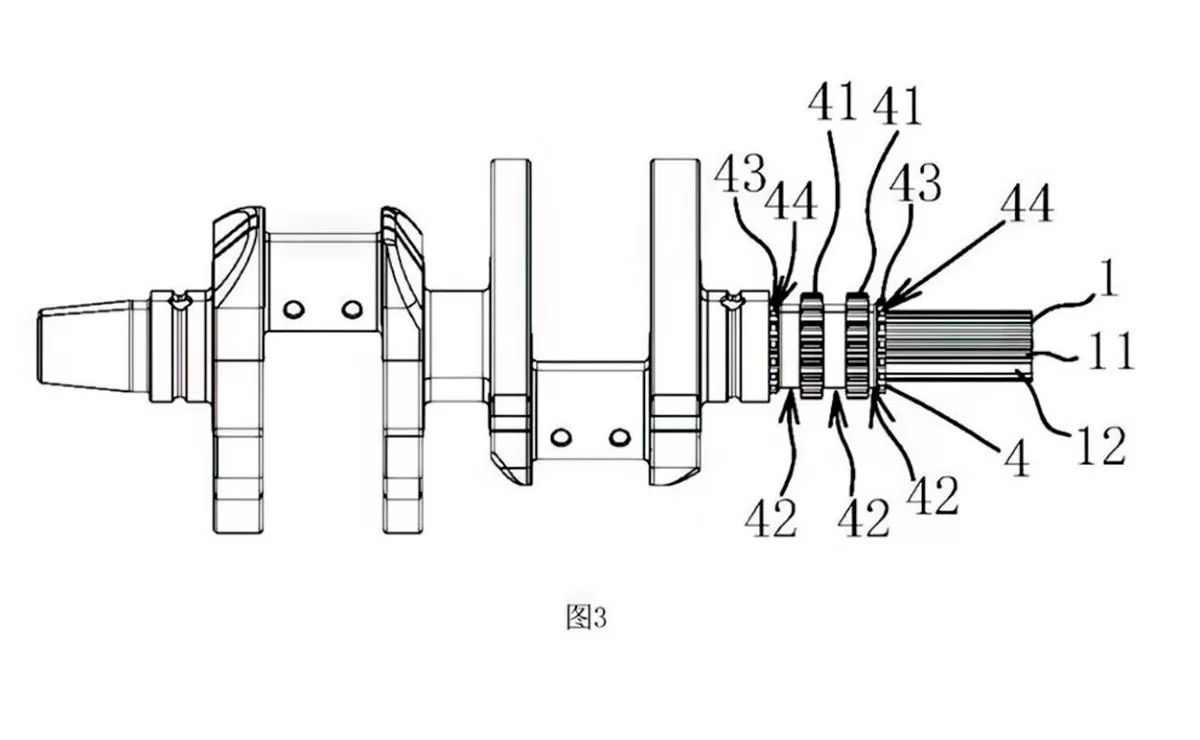
Este motor V4, ha aparecido ya en en reiteradas solicitudes de patentes publicadas en China durante las últimas semanas, dando a conocer que se trata de un motor V4 de 90 grados, con doble árbol de levas a la cabeza, accionado por cadena y cuatro válvulas por cilindro. Si bien, existen algunas similitudes generales entre el diseño del motor chino y el de la última generación de motor de la VFR800 de Honda, no parecería ser un clon, ya que cuenta con diferencias mínimas en algunos elementos como el retorno del aceite o la lubricación de la transmisión.

- Advertisement -
Boceto de un motor V4.

Sabemos que, este no es un diseño radical, pero parece estar a la par de otros motores V4 modernos, aunque su ángulo de 90 grados podría estar indicándonos que no es tan compacto como el motor RSV4 de Aprilia de 65 grados.

¿A que modelos Benelli está destinado este motor?

Algo que no podemos saber aun, a través de estas solicitudes de patentes es, exactamente a qué motos está destinado este motor. Por algunos de los esquemas que incluyen el logotipo de QJMotor, podríamos pensar que aparecerá en algún modelo de la gama de la marca china, que desembarcó en Europa recientemente. Sin embargo, Qianjiang ya comparte sus motores actuales entre QJMotor y Benelli, por lo que es probable que aparezca con el logo de Benelli, esto tendría mucha lógica dado el alcance mundial de la marca.

- Advertisement -

Incorporar un motor V4 a Qianjiang, ayudará a llegar hacia el objetivo de tener todos los tipos de motores de combustión que se puedan imaginar, en su catálogo de motos. La empresa ya fabrica monocilíndricos, bicilíndricos en paralelo, bicilíndricos en V, tricilíndricos en línea y tetracilíndricos en línea, que van desde los 50 cc a los 900 cc.

El motor V4 aporta algunas ventajas, frente a un cuatro en línea. Ya que, al tener los cilindros más cerca del cigüeñal, el V4 tiene menos pérdidas por fricción y puede girar más rápido. Además, al tener un ángulo de 90 grados entre las bancadas, un motor de este tipo tiene un equilibrado perfecto de las fuerzas de inercia primarias, lo que podríamos traducir en un funcionamiento más suave y eficiente.

Boceto del motor V4.

Otro factor importante a tener en cuenta es que, al contar con los cilindros en forma de V, el motor V4 ocupa mucho menos espacio que un cuatro en línea, y esto da lugar al diseño de motos más estrechas y aerodinámicas. Además, facilita el acceso a los componentes del motor y reduce el peso total.

Un gran desafío que tiene el motor V4, es su costo de producción notablemente superior al de un cuatro en línea. Pero, eso en China ya está dejando de ser un problema gracias a sus volúmenes y capacidades productivas. Es por esto que marcas como Benelli, Benda o CF Moto están preparando nuevos modelos V4 económicos y accesibles que, en cuestión de precio, se enfrentarán directamente con marcas como KTM, Honda, Yamaha, Suzuki o BMW Motorrad, la mayoría de ellas con motores bicilíndricos en paralelo, que son los más baratos para fabricar en la actualidad.

Grupo de WhatsApp CuyomotorGrupo de WhatsApp Cuyomotor

Notas Relacionadas

Audi lanzó el S5 Avant en Argentina: un rural deportivo de más de 360 CV

Audi amplió su gama en Argentina con la llegada...

Lanzamiento oficial del Renault Boreal en Argentina con este precio

Renault sumó a su oferta en Argentina el nuevo...

Toyota inauguró un centro de ensamblado de baterías en Brasil, marcando un hito para la región

Toyota inauguró un centro técnico para el ensamblado de...

Jeep Avenger: las primeras unidades de prueba del SUV salen de la línea de producción

Las primeras unidades de prueba del Jeep Avenger han...

Nissan Kait VS Chevrolet Tracker: ¿Cuál es más barata en abril?

Hace unos días se presentó la Nueva Nissan Kait,...

Lo más leído

Audi lanzó el S5 Avant en Argentina: un rural deportivo de más de 360 CV

Audi amplió su gama en Argentina con la llegada...

Lanzamiento oficial del Renault Boreal en Argentina con este precio

Renault sumó a su oferta en Argentina el nuevo...

Toyota inauguró un centro de ensamblado de baterías en Brasil, marcando un hito para la región

Toyota inauguró un centro técnico para el ensamblado de...

Jeep Avenger: las primeras unidades de prueba del SUV salen de la línea de producción

Las primeras unidades de prueba del Jeep Avenger han...

Nissan Kait VS Chevrolet Tracker: ¿Cuál es más barata en abril?

Hace unos días se presentó la Nueva Nissan Kait,...

Últimas Noticias

Audi lanzó el S5 Avant en Argentina: un rural deportivo de más de 360 CV

Audi amplió su gama en Argentina con la llegada...

Lanzamiento oficial del Renault Boreal en Argentina con este precio

Renault sumó a su oferta en Argentina el nuevo...

Toyota inauguró un centro de ensamblado de baterías en Brasil, marcando un hito para la región

Toyota inauguró un centro técnico para el ensamblado de...

Jeep Avenger: las primeras unidades de prueba del SUV salen de la línea de producción

Las primeras unidades de prueba del Jeep Avenger han...

Secciones más leídas